Устройство для оптического сканирования
Информация об авторе
Информация о патенте
- Вид патента
- Изобретение
- (19) Код страны
- RU
- (11) Номер
- 2
- (45) Опубликовано
- 13 августа 2020
- (56) Список документов цитированных в отчете о поиске
J. K. Doylend и др. Two-dimensional free-space beam steering with, an optical phased array on silicon-on-insulator. OPTICS EXPRESS, 24.10.2011, Vol. 19, No. 22, страницы 2159521604. RU 2016134928 A, 01.03.2018. US 2010021124 A1, 28.01.2010. RU 2654924 C2, 23.05.2018.
- (73) Патентообладатель
- Общество с ограниченной ответственностью "Лаборатория Роботов" (RU)
Идентификаторы
- SCI
- Электроника
Реферат
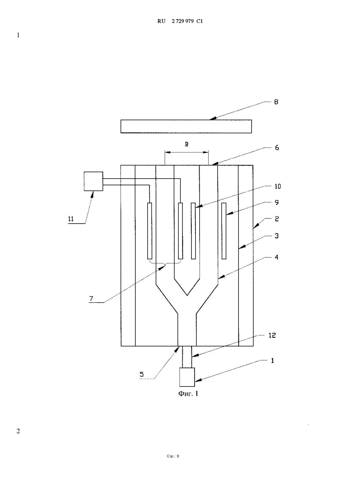
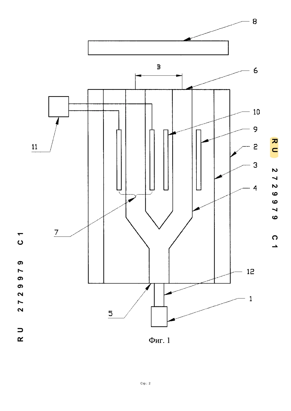
Изобретение относится к области интегральных оптических модуляторов и может быть использовано в качестве лидара в системах обнаружения, идентификации объектов, определения расстояний до них. Сущность изобретения заключается в том, что в устройстве для оптического сканирования, включающем источник излучения 1, оптически сопряженный с модулем сканирования 2, модуль сканирования 2 выполнен в виде микросхемы, в которой установлен блок развертки 3, включающий, по меньшей мере, два оптических канала 4 с общим входом 5 и выходами 6, включающий также средства сдвига фазы 7, при этом источник излучения1оптическисопряженсобщимвходом 5. Техническим результатом изобретения является повышение надежности устройства. 2 з.п. ф-лы, 2 ил.
Формула изобретения
1. Устройство для оптического сканирования, включающее источник излучения, оптически сопряженный с модулем сканирования, который выполнен в виде микросхемы и в который установлен блок развертки, включающий, по меньшей мере, два оптических канала с общим входом и выходами, включающий также средства сдвига фазы, при Стр.: 7RU 2729979 C1 5 10 15 20 25 30 35 40 45 этом источник излучения оптически сопряжен с общим входом, блок развертки оптически сопряжен с модулем изменения угла, причем блок развертки выполнен на основе кремниевого кристалла, оптические каналы сформированы посредством формирования в кремниевом кристалле оптически прозрачных областей, при этом средства сдвига фазы расположены на кремниевом кристалле, отличающееся тем, что модуль изменения угла выполнен или в виде собирающей линзы, или в виде рассеивающей линзы.
2. Устройство по п.1, отличающееся тем, что каждое средство сдвига фаз выполнено в виде первого электрода и второго электрода, соединенных с блоком управления, при этом первый электрод и второй электрод расположены на кремниевом кристалле с двух сторон от каждого оптического канала.
3. Устройство по п.1, отличающееся тем, что источник излучения оптически сопряжен с общим входом посредством световода.